
Check out the very first Point 1 Rock Bouncing and UTV race at the Williams Hill Pass OHV park in Illinois! These guys put on a great show, with some of the best drivers in the rock bouncing and UTV…
Check out the very first Point 1 Rock Bouncing and UTV race at the Williams Hill Pass OHV park in Illinois! These guys put on a great show, with some of the best drivers in the rock bouncing and UTV…
This video demonstrates the procedure for upgrading an ORI STX strut to an Integral Reservoir strut. With this upgrade, comes some key advantages over the standard STX design, including a larger oil…
The Jeep Wrangler Rubicon 392 is available to the public the 2nd quarter of 2021. Check out our selection of 2021 Jeep Wrangler accessories!
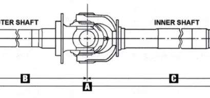
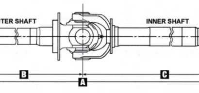
Info and instructions provided by: Yukon Gear and Axle.
When selecting a tire and wheel combination for your ATV/UTV, it is important to understand how manufactures and retailers identify different tire and wheel sizes.
For example, when you search through…
This year Jensen Bros. provided shock tuning on Jake Pike's ORI Struts. Check out his buggy among others in this highlight reel of the rock bouncer nationals in Oklahoma.